考注册安全工程师有什么用
用处一:“一证两用”,可用来评职称
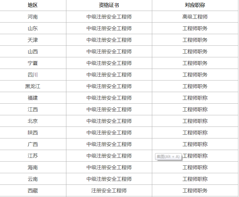
一般来说,考注册安全工程师的人大部分都是工程师,需要评职称。而目前,职称可以“以考代评”,考下中级注册安全工程师直接对应中级职称!
但是,青海、山东、天津、山西、宁夏、黑龙江、陕西、云南等省份明确不再发放职称证书,这个时候,注册安全工程师证书就可以“一证两用”了!
各地区注册安全工程师对应职称一览表


用处二:可领取1000-2000元技能补贴
根据国务院印发的《职业技能提升行动方案(2019—2021年)》,安全工程师证书也可申领技能补贴了。截至目前,山东、浙江、四川、海南、湖北、安徽等省都已发文明确持有职业资格证书可申领证书补贴。一般来说,初级注册安全工程师可申领1000元,中级1500元,高级2000元。

用处三:可抵消3600元个税
申报过个人所得税的人都知道,在个人所得税专项附加扣除中,可以申报继续教育专项附加扣除。而中级注册安全工程师证书就属于继续教育专项附加扣除中技能人员职业资格继续教育的一种。根据规定,技能人员职业资格继续教育、专业技术人员职业资格继续教育支出,在取得相关证书的年度,按照每年3600元定额扣除。
因此,考下注册安全工程师证书,就可抵消3600元个人所得税了!
用处四:可让你升职加薪
随着国家对安全问题的重视,一系列政策文件的出台,很多单位硬性规定相关员工必须考注册安全工程师证书,拿证后会有直接的奖励,当然,也有升职加薪的机会。
以上是国家注册注册安全工程师证书常见问题,今日网校还提供国家注册注册安全工程师证书常见问题、学习资料课程等,欢迎大家注册学习!
名师辅导
环球网校
建工网校
会计网校
新东方
医学教育
中小学学历