造价工程师认定初始、变更注册等业务开始办理
国家政务服务平台:一级造价工程师执业资格认定(初始注册、变更注册等)业务开始办理
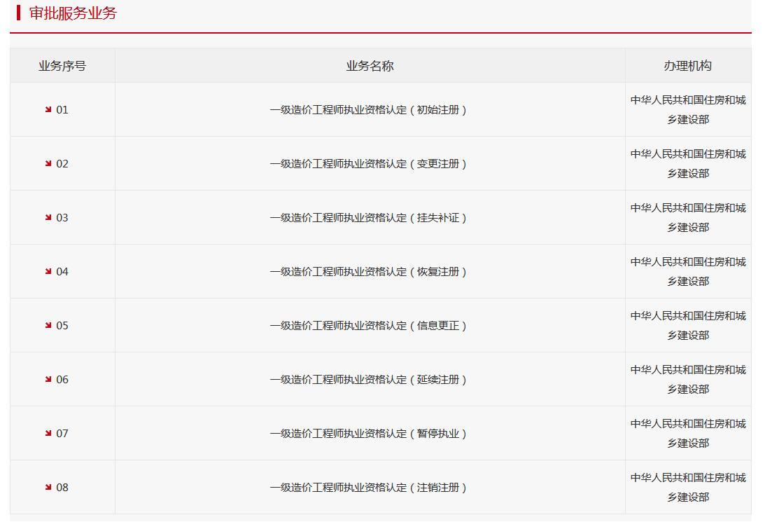
一级造价工程师执业资格认定
《中华人民共和国建筑法》第十四条:“从事建筑活动的专业技术人员,应当依法取得相应的执业资格证书,并在执业资格证书许可的范围内从事建筑活动。”第六条:“国务院建设行政主管部门对全国的建筑活动实施统一监督管理。”
《注册造价工程师管理办法》(建设部令第150号)第四条:“国务院建设主管部门对全国注册造价工程师的注册、执业活动实施统一监督管理;……”。第六条:“注册造价工程师实行注册执业管理制度。取得执业资格的人员,经过注册方能以注册造价工程师的名义执业。”第八条:“取得执业资格的人员申请注册的,……并将申请材料和初审意见报国务院建设主管部门。……”
《造价工程师职业资格制度规定》(建人[2018]67号)第三条:“国家设置造价工程师准入类职业资格,纳入国家职业资格目录”。第十七条:“国家对造价工程师职业资格实行执业注册管理制度。……”、第十八条:“……住房城乡建设部、交通运输部、水利部分别负责一级造价工程师注册及相关工作。……”
审批服务业务

以上是造价工程师认定初始、变更注册等业务开始办理,今日网校还提造价工程师认定初始、变更注册等业务开始办理、考试信息、学习资料课程等,欢迎大家注册学习!
名师辅导
环球网校
建工网校
会计网校
新东方
医学教育
中小学学历